|
Tlak/MPa |
Temperatura / °C |
Hitrost /m/s |
Srednje |
|
≤40 |
-35~+100 (z NBR O-tesnilom) |
≤2 |
Hidravlično olje, emulzija, voda, plin itd. |
|
-20~+200 (z O-tesnilom FKM) |
1. Razpoložljivi materiali O-tesnila: R01 Nitril Butadien Kavčuk (NBR), R02 Fluorkavčuk (FKM) itd.
2. Materiali tesnilnih obročev: standardni materiali PTFE3 in PTFE4; drugi neobvezni materiali vključujejo PTFE1, PTFE2 in PTFE5.
Primer naročanja
Model za naročanje RC2052—80x91×4,2—PTFE3—R01 Model-dxDxL- Šifra materiala
Model za naročanje RCX17—80x91×4,2—HPU Model-dxDxL- Šifra materiala
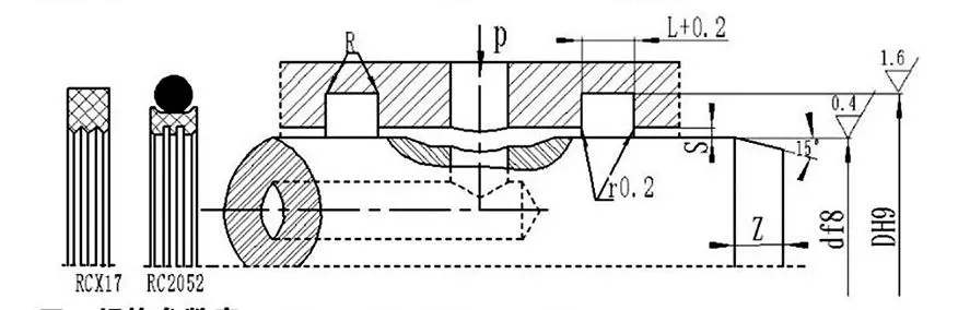
Specifikacije in tabela parametrov (na voljo so vse specifikacije v območju parametrov)
|
Razpon premera gredi d f8 |
Premer jarka DH9 |
Širina jarka L+⁰.2 |
Radialna zračnost Smax |
Zaobljeni vogali Rmaks |
Posnemanje Zmin |
|
|
0~10Mpa |
10~20Mpa |
|||||
|
6~18 |
d+49 |
2.2 |
0.15 |
0.1 |
0.4 |
2 |
|
19~37 |
d+7,5 |
3.2 |
0.2 |
0.15 |
0.6 |
3 |
|
38~199 |
d+11,0 |
4.2 |
0.25 |
0.2 |
1.0 |
4 |
|
200~255 |
d+15,5 |
6.3 |
0.3 |
0.25 |
1.3 |
5 |
|
256~649 |
d+21,0 |
8.1 |
0.3 |
0.25 |
1.8 |
7 |
|
650~1500 |
d+28,0 |
9.5 |
0.45 |
0.3 |
2.0 |
8 |
Opomba: Pri premerih gredi ≤ 30 mm so priporočljivi odprti utori.
|
d |
D |
L |
d |
D |
L |
d |
D |
L |
d |
D |
L |
|
8 |
12.9 |
2.2 |
48 |
59.0 |
4.2 |
150 |
161.0 |
4.2 |
350 |
371.0 |
8.1 |
|
10 |
14.9 |
2.2 |
50 |
61.0 |
4.2 |
160 |
171.0 |
4.2 |
360 |
381.0 |
8.1 |
|
12 |
16.9 |
2.2 |
55 |
66.0 |
4.2 |
170 |
181.0 |
4.2 |
370 |
391.0 |
8.1 |
|
14 |
18.9 |
2.2 |
60 |
71.0 |
4.2 |
180 |
191.0 |
4.2 |
380 |
401.0 |
8.1 |
|
15 |
19.9 |
2.2 |
63 |
74.0 |
4.2 |
190 |
201.0 |
4.2 |
390 |
411.0 |
8.1 |
|
16 |
20.9 |
2.2 |
65 |
76.0 |
4.2 |
200 |
215.5 |
6.3 |
400 |
421.0 |
8.1 |
|
18 |
22.9 |
2.2 |
70 |
81.0 |
4.2 |
210 |
225.5 |
6.3 |
420 |
441.0 |
8.1 |
|
20 |
27.5 |
3.2 |
75 |
86.0 |
4.2 |
220 |
235.5 |
6.3 |
450 |
471.0 |
8.1 |
|
22 |
29.5 |
3.2 |
80 |
91.0 |
4.2 |
230 |
245.5 |
6.3 |
480 |
501.0 |
8.1 |
|
24 |
31.5 |
3.2 |
85 |
96.0 |
4.2 |
240 |
255.5 |
6.3 |
500 |
521.0 |
8.1 |
|
25 |
32.5 |
3.2 |
90 |
101.0 |
4.2 |
250 |
265.5 |
6.3 |
520 |
541.0 |
8.1 |
|
28 |
35.5 |
3.2 |
95 |
106.0 |
4.2 |
260 |
281.0 |
8.1 |
550 |
571.0 |
8.1 |
|
30 |
37.5 |
3.2 |
100 |
111.0 |
4.2 |
270 |
291.0 |
8.1 |
600 |
621.0 |
8.1 |
|
32 |
39.5 |
3.2 |
105 |
116.0 |
4.2 |
280 |
301.0 |
8.1 |
630 |
651.0 |
8.1 |
|
35 |
42.5 |
3.2 |
110 |
121.0 |
4.2 |
290 |
311.0 |
8.1 |
650 |
678.0 |
8.1 |
|
36 |
43.5 |
3.2 |
115 |
126.0 |
4.2 |
300 |
321.0 |
8.1 |
670 |
698.0 |
9.5 |
|
38 |
49.0 |
4.2 |
120 |
131.0 |
4.2 |
310 |
331.0 |
8.1 |
700 |
728.0 |
9.5 |
|
40 |
51.0 |
4.2 |
125 |
136.0 |
4.2 |
320 |
341.0 |
8.1 |
750 |
778.0 |
9.5 |
|
42 |
53.0 |
4.2 |
130 |
141.0 |
4.2 |
330 |
351.0 |
8.1 |
800 |
828.0 |
9.5 |
|
45 |
56.0 |
4.2 |
140 |
151.0 |
4.2 |
340 |
361.0 |
8.1 |
1000 |
1028.0 |
9.5 |
Opomba: zahtevane specifikacije niso navedene tukaj; kontaktirajte naše podjetje. Ponujamo izdelke z največjim premerom 2800 mm.





Celotna navodila za namestitev in uporabo
Rui Chen ve, da je pravilna namestitev prvi predpogoj za zagotovitev popolne učinkovitosti tesnil, dali vam bomo tudi izčrpne napotke o uporabi vsakega izdelka, zlasti zapletenih ali nestandardnih delov po meri, na voljo bodo podrobna grafična navodila za namestitev.
Te vodnike spremljajo diagrami po korakih visoke ločljivosti in besedilna navodila, ki jasno prikazujejo pregledne točke pred namestitvijo, pravilne korake namestitve, potrebna orodja in napačne operacije, ki se jim je treba izogniti, kot da bi bili naši inženirji na mestu. Poleg tega za kompleksne sestave ali sisteme ustvarimo profesionalne video vadnice, ki vašim operaterjem omogočajo, da intuitivno in hitro obvladajo tehnike namestitve in previdnostne ukrepe z dinamičnimi predstavitvami, kar močno zmanjša tveganje zgodnje okvare zaradi nepravilne namestitve.
Naslov
No.1 Ruichen Road, Dongliuting Industrial Park, Chengyang District, Qingdao City, Shandong Province, Kitajska
Tel
E-naslov