Qingdao Ruichen Sealing Technology Co., Ltd.
Qingdao Ruichen Sealing Technology Co., Ltd.
Izdelki
X

Tesnilo iz PTFE spojine tipa AQF

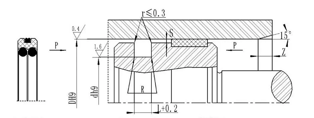
Kot proizvajalec iz Kitajske ima Ruichen Seals sposobnost razvoja in inovacij. PTFE spojina tipa AQF, ki jo je lansiral Ruichen Seals, uporablja kombinacijo PTFE tesnilnih obročev z nizkim trenjem in elastomerov, odpornih na olje. Ima kompakten videz in močno prilagodljivost ter je posebej primeren za hidravlične sisteme v živilskih strojih, medicinski opremi in čistih okoljih.

PTFE spojina tipa AQF ponuja različne možnosti NBR/FKM elastomerov in tesnilnih obročev PTFE1-PTFE4. Je odporen proti onesnaževanju in koroziji ter podpira prilagajanje in veleprodajo v razsutem stanju.


Veljavni delovni pogoji

Tlak Mpa

Temperatura ℃

Hitrost m/s

Srednje

≤60

-35~+100 (NBR)

≤3

Hidravlično olje, emulzija, voda, plin itd.

-20~+200 (FKM)


Izbira materiala

1. Razpoložljivi elastomerni materiali: R01 nitrilni kavčuk (NBR), RO2 fluorokavčuk (FKM) itd.

2. Material tesnilnega obroča: Standardni material: PTFE3; drugi razpoložljivi materiali: PTFE1, PTFE2 in PTFE4.



Hot Tags: Tesnilo iz PTFE spojine tipa AQF
Pošlji povpraševanje
Kontaktne informacije
Pridobite konkurenčne cene, tehnično podporo in hitre odzive. Pošljite svoje specifikacije Ruichen za prilagojene rešitve za tesnjenje. Brezplačni vzorci na voljo.
X
Piškotke uporabljamo, da vam ponudimo boljšo izkušnjo brskanja, analiziramo promet na spletnem mestu in prilagodimo vsebino. Z uporabo te strani se strinjate z našo uporabo piškotkov. Politika zasebnosti
Zavrni Sprejmi